Дночерпатель трубчатый штанговый Мордухай-Болтовского предназначен для взятия проб макробентоса и микробентоса со дна мелководных зон водоёмов на глубине до 2,5 метров на мягких грунтах, включая задернованные грунты и заросли растений.
Дночерпатель Мордухай-Болтовского опускается на штанге, что позволяет осуществлять забор проб непосредственно с берега или стоя на дне водоёма на мелководье.
- простота и удобство в эксплуатации;
- высокая механическая прочность и надёжность констукции;
возможность осуществлять отбор проб прямо с берега или стоя на дне водоёма на мелководье без использования плавсредств;
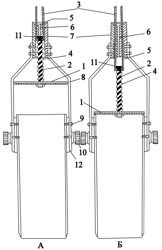
- Штанговый трубчатый дночерпатель Мордухай-Болтовского состоит из отрезка железной трубы диаметром 6,0 или 11.3 см, со стенками толщиной 2–3 мм, заточенными снизу.
- К трубе с помощью болтов (9) прикреплены тупоугольные дуги (8), верхними концами охватывающие муфту (7).
- Нижние концы дуги (12) снабжены прорезью для стопорного винта (10).
- Крепким завинчиванием этих винтов труба устанавливается в вертикальном положении; отпуская винты, трубу можно привести в наклонное положение, вращая ее на болтах как на оси.
- В муфте свободно ходит полый шток (3), который верхним своим концом насаживается на штангу.
- В шток сверху вставлен стержень (2) с насадкой (11) на верхнем конце.
- Нижним концом стержень прикреплен к металлической крышке с резиновой прокладкой снизу (1).
- Вокруг стержня навита спиральная пружина (4). На шток наварена шпонка (5), которая при вертикальном движении штока ходит по прорези муфты (6).
|
Глубина отбора проб, м |
до 2,5 |
|
Диаметр дночерпателя, мм |
113 |
|
Высота столба грунта, мм |
300 |
|
Диаметр вырезанного столба, мм |
80 |
|
Объём пробы, м3 |
0,0015 |
|
Масса дночерпателя, кг |
4 |
+7 (812) 575-54-07
+7 (812) 575-50-81
+7 (812) 575-55-43
+7 (812) 575-57-91
E-mail: info@christmas-plus.ru
Подписывайтесь на наш канал в Рутюбе!
Вы всегда будете в курсе наших последних новостей и сможете наглядно познакомиться с нашей продукцией.
